DISTRIBUTORE PER LED 5A
Distributore con connettore maxi Dupont (DPX) e cavo spellato (100 mm) e n° 6 uscite (DPX) 5A
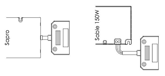
Collegamento Plus con Driver: Plus si collega ai driver Sapro con connettore DPX (90W max), e a Sable con cavo spellato (144W)

LAMPADE E FARETTI
STRIP LED E ACCESSORI
STRIP LED E ACCESSORI
STRIP LED E ACCESSORI
STRIP LED E ACCESSORI